沈黙を守り続けた「空気の門」がある。
自転車という乗り物は、人類が発明した機械の中で最も効率的であり、同時に最も官能的な道具の一つである。ライダーの意志はクランクを通じてチェーンを駆動し、ホイールを回転させ、大地を蹴る。
しかし、この有機的とも言える運動の連鎖を物理的に支えているのは、金属のフレームでもカーボンのリムでもない。タイヤの中に高圧で封じ込められた、質量を持たない流体――
すなわち「空気」である。
空気は、自転車にとっての血液であり、魂である。タイヤの空気圧が適切でなければ、数百万円のスーパーバイクもただの重たい鉄屑と同義となる。我々サイクリストは、ライドのたびにこの不可視のエネルギーを充填し、管理し、対話する。
その儀式を司る唯一のインターフェースが「バルブ」だ。
しかし、驚くべきことに、この極めて重要な「空気の門」は、過去1世紀以上にわたり、技術革新の光が当たらない聖域として放置されてきた。我々が日常的に使用している「フレンチバルブ(Presta valve)」は、19世紀末に発明されて以来、その基本構造をほとんど変えていない。
細く、頼りなく、操作には指先の繊細な感覚と熟練を要するこの古き規格は、あたかも伝統工芸品のように、あるいは悪しき慣習のように、最先端の機材の中に居座り続けてきた。
この静寂を破ったのはClik Valveだ。
ドイツのタイヤ巨人Schwalbe(シュワルベ)と、発明家John Quintana率いるClik Corpが世に問うた新規格「Clik Valve(クリックバルブ)」は、単なる機材のアップデートではない。
それは、130年間にわたりサイクリストが甘受してきた「不便という名の常識」に対する、工学的かつ哲学的なアンチテーゼである。この小さな金属片に込められた革命の全容を、構造力学、流体力学、そして人間工学の視点から追っていく。
自転車史における、その意義を問う。
バルブの哲学:フレンチバルブの功罪
三つの巨頭とその興亡
自転車用バルブの歴史を紐解くことは、自転車そのものの進化の過程を辿ることと同義である。現在、世界的に普及している主なバルブ形式は三つ存在する。それぞれの規格は、誕生した時代背景と用途を色濃く反映している。
英式バルブ(Dunlop Valve):実用車の王
ジョン・ボイド・ダンロップの名を冠するこのバルブは、構造が単純であり、虫ゴムと呼ばれる弁を使用する(現代ではプランジャー式に置き換わりつつあるが)。安価で堅牢なため、シティサイクルや実用車において圧倒的なシェアを誇る。
しかし、空気圧の微調整や高圧充填には不向きであり、構造上のエアロスも大きいため、スポーツサイクルでの採用は皆無に近い。
米式バルブ(Schrader Valve):自動車からの借用
自動車やモーターサイクルの標準規格である米式バルブは、極めて堅牢な構造を持つ。スプリングロードされたコアを持ち、中央のピンを押すことで開閉する仕組みは、Clik Valveの遠い祖先とも言える。
MTBやBMXなど、激しい衝撃が加わるジャンルではその頑丈さが愛されるが、バルブ径が太いため、ロードバイクのような細いリムには大きな穴を開ける必要があり、リムの構造的強度を損なうという致命的な欠点があった。
仏式バルブ(Presta Valve):スポーツサイクルの支配者
そして、今回の主悪であるClick Valveの仮想敵となるのが仏式バルブである。細い軸はリムの穴を最小限に留め、高圧に耐えうる構造を持つことから、ロードバイクや競技用自転車のデファクトスタンダードとして君臨してきた。
しかし、その支配の陰で、サイクリストたちは多くの「小さな絶望」を積み重ねてきた。
フレンチバルブが抱える構造的欠陥
フレンチバルブは、機能美を備えていると同時に、人間工学的な欠陥を抱えている。その操作プロセスを分解すると、いかに現代の工業製品として不合理であるかが浮き彫りになる。
- キャップを外す: 小さなプラスチック片を回して外す。紛失のリスクが常にある。
- 小ネジ(ナット)を緩める: 先端の極めて小さなナットを指先で緩める。冬場のグローブをした手や、疲労した指先には過酷な作業である。
- 固着の解除: 内部のシールが張り付いていることが多いため、先端を指で押して「プシュッ」と一度空気を抜く儀式が必要となる。
- ポンプヘッドの装着: ここが最大の難所である。ゴムパッキンの摩擦で固定するタイプや、レバーで締め付けるタイプなどがあるが、いずれもバルブに対して垂直に力を加える必要がある。少しでも角度がずれれば、華奢な先端のピンは容易に曲がり、最悪の場合は折れてしまう。
- ポンピングと取り外し: 高圧になったポンプヘッドを引き抜く際、勢い余って手をスポークに打ち付けたり、反動でバルブコアを曲げたり、あるいはコアごと緩んで抜けてしまったりする事故が後を絶たない。
これら一連の動作は、熟練したサイクリストにとっては「無意識の所作」となっているかもしれない。しかし、それは不便さに慣らされた結果であり、システムとしての完成度が高いことを意味しない。
Schwalbeが「130年間の常識への挑戦」と銘打ったのは、この形骸化した儀式を根本から破壊し、再構築するためである。
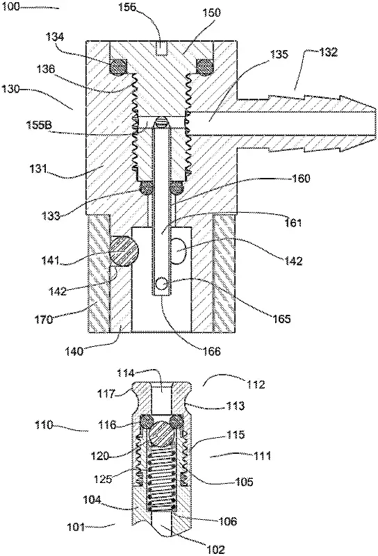
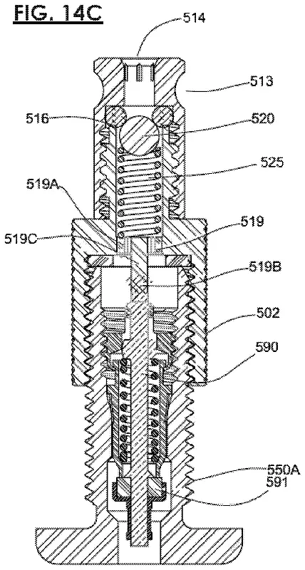
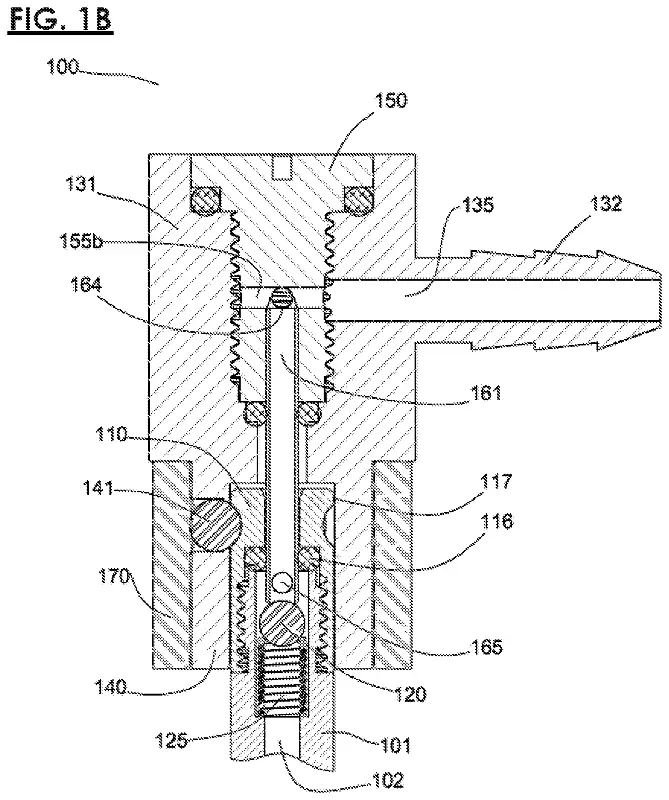
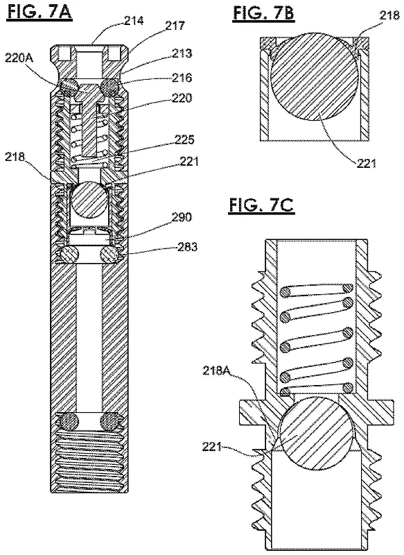
Clik Valveの解剖学 – 特許技術とメカニズム
Clik Valveが画期的である理由は、単に「使いやすい」からではない。その内部には、流体の制御と機械的な締結に関する洗練された工学が詰め込まれている。米国特許 US11719351B2 および技術資料に基づき、その構造をみていく。
Clik Valve システムの構成
Clik Valveシステムは、大きく分けて二つの主要部品で構成される「バイナリ(二元)」な単純システムである。
| コンポーネント | 名称 | 機能的役割 |
| ホイール側 | Clik Valve Insert (Core) | 既存のプレスタバルブステムにねじ込むコア部分。逆止弁機能と、ポンプヘッドとの物理的結合インターフェース(溝)を持つ。 |
| ポンプ側 | Clik Pump Head (Coupler) | ポンプのホース先端に装着するカプラー。バルブを捕捉するロッキング機構と、バルブを開放するアクチュエーターピンを内蔵。 |
このシステムが優れている点は、「バルブステム(外筒)は既存のものを流用できる」という点にある。
これは、ユーザーがホイールやチューブを買い替える必要がなく、わずかな投資で最新のシステムへと移行できることを意味する。これは普及における最大の障壁を取り除くための、極めて戦略的な設計判断である。
ロッキングメカニズム:摩擦から嵌合(かんごう)へ
従来のポンプヘッドは、ゴムパッキンがバルブステムを締め付ける「摩擦力」に依存して固定されていた。これはアナログ的な固定方式であり、固定力はゴムの劣化や気象条件、挿入の深さに左右される不安定なものであった。
対してClik Valveは、「ボールジョイント」あるいは「クリップオン」と呼ばれる機械的な嵌合方式を採用している。
ポンプヘッドをバルブに押し込むと、ヘッド内部の複数の爪(またはボールベアリング状のパーツ)が、バルブインサート上部に刻まれた円周状の溝(グルーブ)に物理的に噛み合う。
この瞬間、指先には明確なクリック感が伝わり、耳には「カチッ」という音が届く。手への振動、耳で聞くこの2つの演出がある。そして、この音は単なる演出ではない。工学的に「接続が完了し、ロックされ、気密が確保された」ことをユーザーに告げる、確信のシグナルとも言えるだろう。
このメカニズムにより、以下のメリットが生まれる:
- 不確実性の排除: 「奥まで刺さっているか?」「固定されているか?」という迷いが消滅する。
- 片手操作の実現: ポンプヘッドを支える必要がなく、片手で押し込むだけで接続が完了する。これは、バイクを手で支えながら空気を入れる際や、不安定なレース会場での作業において革命的な利便性をもたらす。
- バルブへの負荷軽減: 横方向への無理な力がかからず、垂直にロックされるため、バルブステムを曲げるリスクが構造的に排除される。
内部流路とシール構造の妙
特許文献の記述によれば、接続時の内部動作は以下の通り進行する。
- 挿入と整列: ポンプヘッド(カプラーハウジング)がバルブステムに沿ってガイドされ、中心軸が整列する。
- ピンの接触: ヘッド内部の「インフレーションピン(中空の管)」が、バルブインサート内のシール部材に接触する。
- 開放: 更に押し込むことで、ピンが物理的にバルブのシールを押し下げ、流路を開放する。この時、ピン自体がエアの通り道(コンジット)となる。
- 気密の確立: ヘッド内部のOリング(シーリングリング)がバルブインサートの外壁と密着し、外部へのエア漏れを遮断する。
特筆すべきは、「ポンプヘッドを取り外した瞬間の挙動」である。
従来のフレンチバルブでは、ポンプを外す際に「プシュッ」と大きな音がし、タイヤ内の空気が少量漏れ出ることが常態化していた。しかしClik Valveでは、ヘッドを引き抜くと、内蔵されたスプリングとタイヤの内圧によってシール部材が瞬時に閉じる。
漏れるのは「ポンプのホース内に残っていた空気」のみであり、タイヤ内部の圧力損失は事実上「ゼロ」である。この「ゼロ・ロス」特性は、0.1bar単位で空気圧を管理するシリアスなレーサーにとって、福音以外の何物でもない。
流体力学が生み出す「50%」の余裕
チューブレス時代の要請

現代の自転車シーンにおいて、「チューブレスタイヤ」の普及は不可逆的なトレンドである。転がり抵抗の低減、乗り心地の向上、耐パンク性能などメリットは計り知れないが、唯一にして最大のハードルが「セットアップ(ビード上げ)」である。
タイヤのビードをリムのフックに密着させるためには、一瞬にして大量の空気をタイヤ内に送り込み、急激な内圧上昇を作り出す必要がある。しかし、従来のフレンチバルブは、その細さと複雑なコア構造が抵抗(ボトルネック)となり、十分な流量を確保できないことが多かった。
その結果、多くのサイクリストがエアコンプレッサーや専用のブースタータンクを購入するか、汗だくになってフロアポンプを高橋名人並みに「高速連打」するという苦行を強いられてきた。
高橋名人を知らない世代には伝わりにくいかもしれないが・・・。
Clik Valveの流体性能
Schwalbe社の公式データによれば、Clik Valveは従来のフレンチバルブと比較して、エアフロー(空気流量)が50%(1.5倍)向上している。
これは、バルブコア内部の設計を根本から見直し、空気の通り道を阻害する要素(ネジ山や複雑なバネ受け構造)を最小限に抑え、流路断面積を拡大したことによる成果である。
「50%」という数字は、実用上どのような意味を持つのか?
それは、「コンプレッサーなしで、標準的なフロアポンプだけでチューブレスタイヤのビード上げが可能になる」という閾値を超えることを意味する。
実際に、これまで苦労していたタイヤの装着があっけなく完了した。これは単なる時短ではない。自宅でのメンテナンスにおける「失敗への恐怖」を取り除き、チューブレスタイヤへの心理的障壁を下げる、極めて実利的な性能向上であると言える。
仁義なきバルブ戦争 – 競合規格との比較
Clik Valveは孤高の存在ではない。近年、この「バルブのボトルネック問題」に対し、いくつかのメーカーが異なるアプローチで解決策を提示している。特に「Reserve Fillmore」と「Muc-Off Big Bore」は強力なライバルである。
これらとの比較を通じて、Clik Valveの真の立ち位置を浮き彫りにする。
対 Reserve Fillmore Valve:究極の流量


Santa Cruz Bicyclesの姉妹ブランドReserveが開発した「Fillmore Valve」は、ハイフローバルブの先駆者である。
- 構造: 従来のバルブコア(取り外し可能な部分)を廃止し、バルブステム全体を一つの空気の通り道として設計。内部を通る長いポペットロッドが特徴。
- 流量: 従来の3倍(300%)という驚異的なエアフローを誇る。
- 比較: 流量という純粋なスペックにおいては、Clik Valve(150%)はFillmore(300%)に及ばない。しかし、Fillmoreには「高価である(ペアで7,000円以上)」「専用の独自規格ステムであり、コア交換ができない」「シーラントを注入できない(初期モデル)」といった欠点があった。また、専用のキャップが機能の一部を担っているため、キャップの紛失が機能不全に繋がるリスクもある。
- 判定: 究極の流量を求めるダウンヒルレーサーなどにはFillmoreに分があるが、汎用性とコストパフォーマンスではClikが勝る。
対 Muc-Off Big Bore Valve:ボールバルブの挑戦
ケミカル大手のMuc-Offが投入した「Big Bore」は、配管設備などで使われる「ボールバルブ(コック)」を自転車用に小型化したものである。
- 構造: レバーをひねることでボール状の弁が回転し、完全に貫通した穴(ボア)が現れる。
- 流量: 従来比264%のエアフロー。
- 特徴: 構造上、流路が完全にストレートになるため、シーラントによる詰まりが物理的に発生しにくい。
- 比較: Big Boreは「詰まりにくさ」において最強の耐性を持つが、バルブの頭部にレバーが存在するため、外観がスマートではないという美的観点や、ホイールバランスへの影響が懸念される。また、専用ステムへの交換が必須である。
比較:Clik Valveの「中庸の美学」
| 比較項目 | Standard Presta | Schwalbe Clik Valve | Reserve Fillmore | Muc-Off Big Bore |
| エアフロー | 基準 (100%) | +50% (150%) | +200% (300%) | +164% (264%) |
| 導入方法 | – | コア交換のみ | ステム全交換 | ステム全交換 |
| コスト (日本円) | ¥500/個 | ¥3,000/セット | ¥7,000~/ペア | ¥6,500~/ペア |
| 操作性 | 複雑 (ネジ・レバー) | ワンタッチ (Click) | ネジ緩め・ポンプ圧入 | レバー開閉・ポンプ接続 |
| 詰まり耐性 | 低い | 中〜高 | 非常に高い | 非常に高い |
| 既存ポンプ | そのまま使用可 | 要アダプター/ヘッド | そのまま使用可 | そのまま使用可 |
この比較から見えるClik Valveの戦略は明白である。それは「最高スペックの追求」ではなく、「既存のエコシステムへの親和性」と「劇的なユーザー体験の向上」のバランスである。
ホイールからタイヤを外してバルブステムを交換するという大掛かりな作業を強いることなく、バルブコアをねじ変えるだけでシステムをアップデートできる手軽さ。これこそが、Schwalbeが目指す「新標準」への最短ルートなのである。
日本市場における現実 – 価格と流通
価格と入手性
日本国内において、ダイアテックが取り扱っている。
「Clik Valve 変換キット(バルブコア2個+ポンプヘッドアダプター)」の実勢価格は、3,190円程度で推移している。
¥3,190
また、バルブコア単体(2個セット)や、
¥1,496
専用ポンプヘッド単体も販売されている。
¥3,476
電動ポンプ用はこちら。
¥1,980
ランニングコストは比較的安価に抑えられている。競合のハイエンドバルブがペアで6,000円~8,000円することを考えれば、この価格設定は「試しに使ってみよう」という購買意欲を刺激する絶妙なラインである。
供給の遅れと市場の渇望
日本市場への本格的な導入は、海外よりも若干の遅れを見せた。この「待たされる時間」は、SNSやブログでの期待感を醸成する結果となった。日本のサイクリストは、新しい機材に対して慎重でありながらも、一度「理にかなっている」と判断すれば急速に取り入れる柔軟性を持つ。
特に、マンション事情などでコンプレッサーを持てない都市部のサイクリストにとって、フロアポンプでのビード上げを容易にするClik Valveは、潜在的な救世主として注目されている。
実走と運用 – 泥とシーラントの現場から
装着の儀式
Clik Valveの導入は、極めてシンプルである。
- 既存のホイールから、バルブコア回しを使ってプレスタのコアを抜き取る。
- Clik Valveのコア(インサート)をねじ込む。
- 手持ちのポンプのヘッドに、専用のアダプターを「カチッ」と嵌め込む(あるいはヘッドごと交換する)。
たったこれだけの作業で、愛車は最新のインターフェースを手に入れる。この時、コアの重量は2.4gであり、従来のプレスタコア(1.4g)よりわずかに重いが、ホイールバランスに悪影響を与えるレベルではない。
シーラントとの終わりなき戦い
チューブレス運用における永遠の課題は、シーラントによるバルブの目詰まりである。
Clik Valveは、Reserve Fillmoreのように「シーラントを寄せ付けない構造」を売りにしているわけではない。バルブの底面形状はプレスタと類似しており、理論上はシーラントが固着するリスクはゼロではない。
しかし、以下の点でメンテナンス性は担保されている。
- 分解清掃: コアを取り外し、オイルを差して可動させることで機能を回復させるハックがある。
- 安価な交換: どうしても詰まった場合は、高価なバルブ全体ではなく、安価なコアだけを交換すれば良い。これはランニングコストの観点で非常に合理的である。
ポンピングの官能評価
実際に空気を入れる際、その体験は劇的に変化する。
片手でヘッドを持ち、バルブに近づける。軽い力で押し込むと、小気味よい「クリック音」と共にロックされる。手を離してもヘッドは微動だにしない。ポンピングの抵抗は驚くほど軽く、空気がスムーズに入っていくのが分かる。
そして終了時。
ヘッドを掴んで引き抜く。抵抗なく「スポッ」と抜ける。あの不快な「プシュッ!」というエア漏れ音はない。そこには静寂と、適正圧に満たされたタイヤだけが残る。この一連のシームレスな体験こそが、Clik Valveの真骨頂である。
「接続」の再定義と未来への提言
デジタルな接続への進化
従来のフレンチバルブによる接続は「アナログ」であった。ネジの締め具合、パッキンの摩擦、レバーの角度。それらは全て連続的な値(アナログ)であり、ユーザーの感覚に依存していた。
対してClik Valveは「デジタル」である。
接続されている(1)か、されていない(0)か。
ローランドの名言「俺か、俺意外か」のように、その中間の曖昧さは存在しない。クリック音は、接続という行為を二値化し、不確定要素を排除する。
これは、あらゆるインターフェースがデジタル化・直感化していく現代社会の流れにおいて、自転車という機械もまた、その進化の系譜にあることを示唆している。
標準化への険しい道
Clik Valveは本気で「次の100年の標準」になろうとしている。その証拠に、彼らは特許技術を囲い込むのではなく、他社へのライセンス供与や、サードパーティ製ポンプ(SKS等)との連携を積極的に進めている。
しかし、壁は厚い。
世界中に数億本存在するプレスタバルブ、そして「今のままで十分だ」と考える保守層。Clik Valveが真の標準となるためには、完成車メーカーが最初からこのバルブを採用し、市場にデフォルトとして浸透させる必要がある。
まとめ:導入すべき者、待つべき者
あなたは、機材の些細なトラブルで集中力を削がれることを許容できるだろうか。もし「No」ならば、Clik Valveは必須の投資である。特にシクロクロスやMTBのレース現場、あるいは遠征先での作業において、その信頼性とスピードは勝敗を分けるマージナル・ゲインとなり得る。
もしあなたがチューブレスタイヤのビード上げに苦労しているなら、あるいはポンプの脱着が苦手なパートナーがいるなら、迷わず導入すべきである。3,000円の投資で得られるストレスフリーな体験は、費用対効果が極めて高い。
Schwalbe Clik Valveは、自転車という完成された機械に残された、数少ない「未開の荒野」を開拓した。そのクリック音は、自転車が次のステージへと進化するための、小さくとも力強い鼓動である。
我々は今、130年ぶりに「呼吸」の方法を変えようとしているのだ。
¥1,496
¥3,476
¥1,980


























